Seat Cushion - Mercedes-Benz (2019201221)

Seat Cushion - Mercedes-Benz (2019201221)

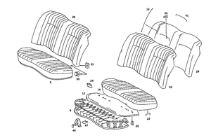
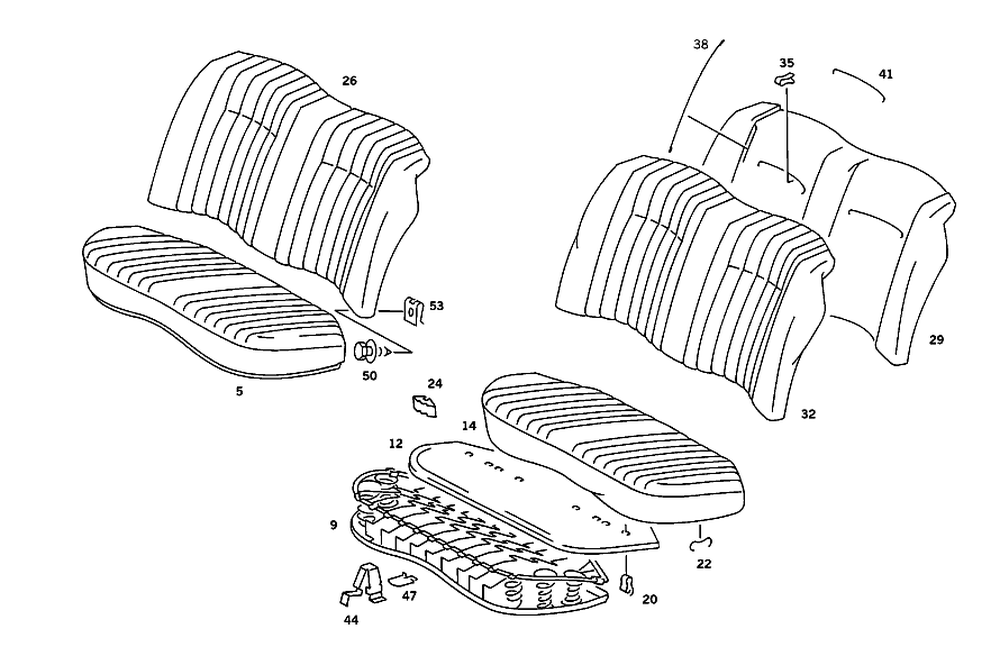
Part can be found as reference #5 in illustration

Seat Cushion - Mercedes-Benz (2019201221)

Genuine Mercedes-Benz Parts
Mercedes-Benz Parts
  • Mercedes-Benz
  • 2019201221

Details

  • Brand:

     Parts

  • SKU:

    2019201221

  • Description:

    Imitation leather.

  • Condition: New
  • Notes: Up to end of model year'84.

Discontinued Product

No Longer Available For Purchase

Manufacturer Warranty Minimum of 12 Months
Guaranteed Fitment Always the correct parts
Shop with Confidence Your information is safe
In-House Experts We know our products
Genuine Mercedes-Benz Parts
Mercedes-Benz Parts
  • Mercedes-Benz
  • 2019201221

Details

  • Brand:

     Parts

  • SKU:

    2019201221

  • Description:

    Imitation leather.

  • Condition: New
  • Notes: Up to end of model year'84.

Vehicle Fitment

Vehicle Fitment
Year Make Model Body & Trim Engine & Transmission
( more fitments)
No fitment data available