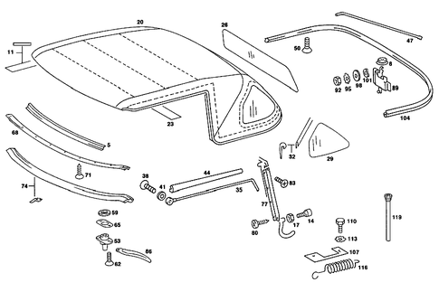
Folding Top Lining for 1988 Mercedes-Benz 560SL

Vehicle

1988 Mercedes-Benz 560SL

Change Vehicle

Categories

Browse Categories
Folding Top Lining for 1988 Mercedes-Benz 560SL #0
No.
Part # / Description / Price
Price
5
Lining
Mercedes-Benz Mercedes-Benz
Notes: STATE COLOR NUMBER WHEN ORDERING
Description: Folding top front rail.
8
Grommet
Mercedes-Benz Mercedes-Benz
Description: Electric cable thru tunnel.
$7.00
$7.00
11
Seat Belt Strap
Mercedes-Benz Mercedes-Benz
Description: 1200mm.
14
Buffer
Mercedes-Benz Mercedes-Benz
Notes: NO LONGER AVAILABLE
20
Soft Top Canvas
Mercedes-Benz Mercedes-Benz
Description: Soft top.
23
Band
Mercedes-Benz Mercedes-Benz
Notes: NO LONGER AVAILABLE
ORDER BY THE METER
26
Washer
Mercedes-Benz Mercedes-Benz
Notes: ONLY REPLACEABLE BY THE SET
Description: Folding top window, center.
26
Washer
Mercedes-Benz Mercedes-Benz
Notes: ONLY REPLACEABLE BY THE SET
Description: Central. Folding top window, center.
29
Washer
Mercedes-Benz Mercedes-Benz
Notes: ONLY REPLACEABLE BY THE SET
Description: Folding top window,right.
29
Washer
Mercedes-Benz Mercedes-Benz
Notes: ONLY REPLACEABLE BY THE SET
Description: Folding top window,left.
29
Washer
Mercedes-Benz Mercedes-Benz
Notes: IS NO LONGER DELIVERED, ORDER DELIVERY CONTENTS
ONLY REPLACEABLE BY THE SET
Description: Folding top window,right.
29
Washer
Mercedes-Benz Mercedes-Benz
Notes: IS NO LONGER DELIVERED, ORDER DELIVERY CONTENTS
ONLY REPLACEABLE BY THE SET
Description: Folding top window,left.
32
Piping
Mercedes-Benz Mercedes-Benz
Notes: ORDER BY THE METER
Description: Central 2600 mm lateral 1070 mm. 4740 mm.
35
Tensioning Cable
Mercedes-Benz Mercedes-Benz
$12.50
$12.50
38
Screw
Mercedes-Benz Mercedes-Benz
Description: PULLS TO FOLDING TOP FRONT CROSS FRAME
Diameter: 4mm
Strength / hardness class: 4.8
Thread code letter: M
Thread pitch: 1mm.
$9.00
$9.00
41
Countersunk Washer
Mercedes-Benz Mercedes-Benz
Description: Pulls to folding top front cross frame.
$5.50
$5.50
44
Dampening
Mercedes-Benz Mercedes-Benz
Description: Lateral right.
$104.00
$104.00
44
Dampening
Mercedes-Benz Mercedes-Benz
Description: Lateral left.
$104.00
$104.00
47
Cable, Rear Soft Top
Mercedes-Benz Mercedes-Benz
$75.00
$75.00
50
Screw
Mercedes-Benz Mercedes-Benz
Description: Console to interior part. Frame to door. Window frame.
53
Closure
Mercedes-Benz Mercedes-Benz
Description: Right.
53
Closure
Mercedes-Benz Mercedes-Benz
Description: Left.
59
Window
Mercedes-Benz Mercedes-Benz
$7.75
$7.75
62
Screw
Mercedes-Benz Mercedes-Benz
Description: Folding top front rail. Locking handle to folding top frame.
65
Washer
Mercedes-Benz Mercedes-Benz
Description: Locking handle to folding top frame. 1.5 mm as required.
65
Shim
Mercedes-Benz Mercedes-Benz
Description: Locking handle to folding top frame. 1 mm as required.
68
Sealing Rail
Mercedes-Benz Mercedes-Benz
Description: Front. Transverse.
71
Tapping Screw
Mercedes-Benz Mercedes-Benz
Description: Cap to body front end,top. Roof front rail. Rail to roof rail. Top pad. Sealing rail to windshield pillar. Sealing rail to folding top frame. Cap to cowl. Folding top lining.
74
Seal
Mercedes-Benz Mercedes-Benz
Description: At roof front rail.
$26.00
$26.00
77
Retaining Rail
Mercedes-Benz Mercedes-Benz
Description: Right.
$92.00
$92.00
77
Retaining Rail
Mercedes-Benz Mercedes-Benz
Description: Left.
$87.00
$87.00
80
Tapping Screw
Mercedes-Benz Mercedes-Benz
Description: PLATE TO BODY. 4,2X13
Diameter: 4,2mm
Thread code letter: R. ATTACHMENT PLATE. 4,2X13
Diameter: 4,2mm
Thread code letter: R. Plate to longitudinal member LINKS. 4,2X13
Diameter: 4,2mm
Thread code letter: R. REAR DOOR,BOTTOM. 4,2X13
Diameter: 4,2mm
Thread code letter: R.
$2.40
$2.40
83
Screw
Mercedes-Benz Mercedes-Benz
Description: Cover rail to folding top pillar. Fabric retaining rail to folding top pillar.
83
Screw
Mercedes-Benz Mercedes-Benz
Description: M4X10
Diameter: 4mm
Strength / hardness class: 8.8
Thread code letter: M
Thread pitch: 1mm. Lateral left and right nozzles to instrument panel. Glove compartment lid interior part m 4x10. Microphone. Mounting, cover. Handle to glove compartment lid m 4x10.
86
Locking Handle
Mercedes-Benz Mercedes-Benz
Description: Fabric retaining rail & seal rail to folding top pillar.
$232.00
$232.00
89
Lock
Mercedes-Benz Mercedes-Benz
$655.00
$655.00
95
Tooth Lock Washer
Mercedes-Benz Mercedes-Benz
Description: Fresh-air flap to hinges. Fastener to folding top case, center. Lock upper part to folding top case cover.
98
Washer
Mercedes-Benz Mercedes-Benz
Description: Spacer washer.
$2.00
$2.00
98
Washer
Mercedes-Benz Mercedes-Benz
Description: Wiper system mounting plate to partition panel center. Battery frame,front. Brake power regulator to bracket. Battery frame to fire wall. Cooling pipe to frame side member. Hydraulic unit to bracket. Strut to stiffening,front central. Temperature sensor to front bumper.
104
Seal
Mercedes-Benz Mercedes-Benz
$63.00
$63.00
107
Intermediate Layer
Mercedes-Benz Mercedes-Benz
Notes: NO LONGER AVAILABLE
Description: Folding top support.
110
Hexagon Head Bolt
Mercedes-Benz Mercedes-Benz
Description: Shackle mounting. M8X30
Diameter: 8mm
Strength / hardness class: 10.9
Thread code letter: M
Thread pitch: 1mm. At support. Instrument panel to left / right A-pillar and wind deflector M 8X30. Seat framework to backrest. Child's seat mounting. Child seat safety catch. Left and right outer guard plate to rear panel. Rear m8x30. Crossmember to a-pillar.
$2.40
$2.40
113
Tooth Lock Washer
Mercedes-Benz Mercedes-Benz
Notes: NO LONGER AVAILABLE
Description: Wiper linkage to motor drive rod. Lever to operating unit. Folding top frame assembly to console. Levers to door shells. Lever to bearing bracket. Brake anchor plate to rear axle tube.
119
Hose
Mercedes-Benz Mercedes-Benz
Description: Water drain.